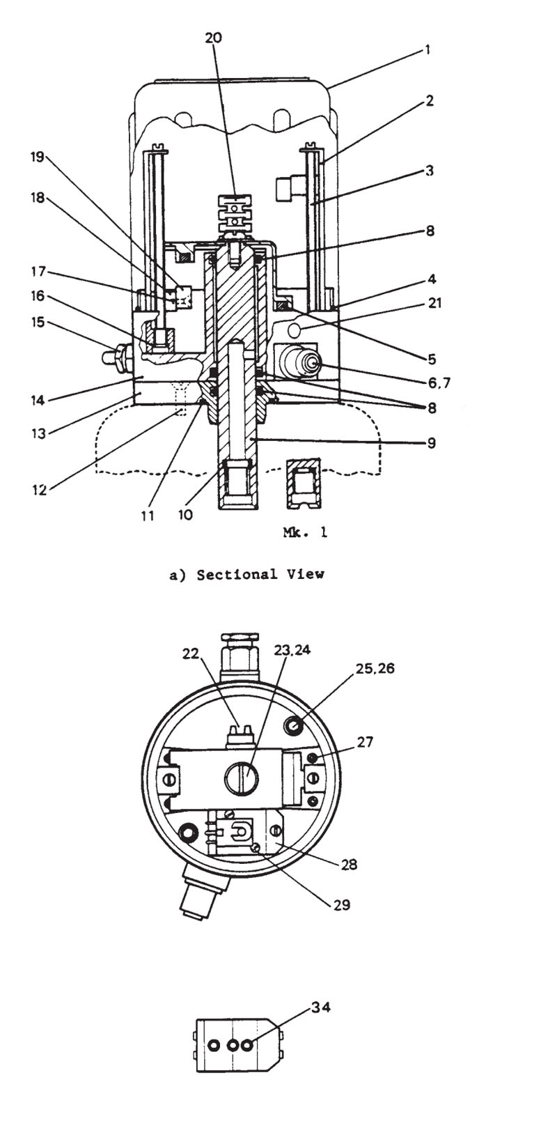
APV Zephyr series 4 Single Seal Valve
All spare parts available including valves seals, mechanical seals, gaskets, O-rings and more.
Product Description
APV Zephyr series 4 Single Seal Valve
All spare parts available including valves seals, mechanical seals, gaskets, O-rings and more.
Refer to the datasheet for required parts and contact Daken for a fast, competitive quote.
Download
Click here to download the APV Zephyr series 4 Single Seal Valve datasheet


